91香蕉视频在线播放,香蕉视频APP免费,91香蕉视频在线看,香蕉视频下载污污污

欢迎来到91香蕉视频在线播放食品机械(江苏)有限公司官方网站!
您的位置: 首页 > 产品中心 > 椰子加工系列 > YMJ型椰肉研磨机
联系91香蕉视频在线播放 Contact Us
91香蕉视频在线播放食品机械(江苏)有限公司
电话:0523-84888995
联系人:刘先生
手机:18961099766
地址:江苏省靖江市新桥工业园区瑞江路16号(飞煌智能装备产业园26-2)
网址:www.jingjinxc.com
  
< >

YMJ型椰肉研磨机

YMJ型椰肉研磨机,是根据椰肉所持有的特点,研制的一种专用磨碎机,适用于椰子汁加工工艺中椰肉的粉碎;该机与椰肉接触部分全部由304不锈钢制作,符合食品卫生。
18961099766

详细说明/ Parameter

概述

YMJ型椰肉研磨机,是根据椰肉所持有的特点,研制的一种专用磨碎机,适用于椰子汁加工工艺中椰肉的粉碎;该机与椰肉接触部分全部由304不锈钢制作,符合食品卫生。

产品型号


结构特征与工作原理

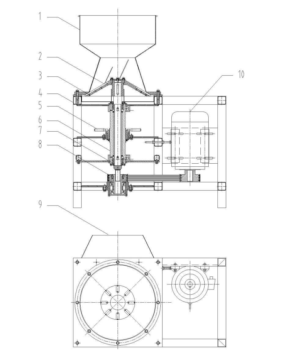
4.1结构:参照图4-1椰肉磨浆机结构原理图,该机主要由机架、进出料斗、齿刀、刀盘、轴承机构、传动机构、电机等组成。

4.2工作原理:工作时电机经一对V带轮、通过轴承架、轴承机构高速驱动刀盘高速旋转,刀盘上装有若干把齿刀片,齿刀由耐磨高硬度合金制造。椰肉自由落入进料斗,被高速旋转的齿刀磨碎,磨碎后的物料由刀盘和刀盘盖之间的间隙落入出料斗。实现磨碎功能。整体转子总成制作有升降调节机构,可以调整刀盘与刀盘盖之间的间隙,从而调整椰肉的磨细粒度。


 


图4-2,椰肉研磨机结构原理图

1、进料斗;2、齿刀片;3、刀盘;4、机架;5、转子升降机构;6、轴承架;7、轴承;8、皮带传动机构;9、出料斗;10、电机

安装、调整、操作与维护

4.1 机器必须安装水平,并用地脚螺钉固定。

4.2操作:当设备启动时,应调整好齿盘和齿刀盖之间的间隙。

4.3进料必须均匀,严禁硬质异物进入料斗,以免损坏筛网。

4.4维护: 班中停车或换季闲置时,应对设备进行清洗,保持内外洁净;

4.5定期对各润滑点加润滑油、脂。


设备型号

产量

功率

外形尺寸

YMJ-1

  1T

  4KW

900×600×1200

TMJ-1.5

  1.5T

  7.5KW

1240×930×1800



产品广泛应用于超市、宾馆、餐饮、休闲、娱乐、医院、教育等场所。

上一个:LSJ型螺旋输送机
下一个:GXJ型滚筒拣选机


标签:
91香蕉视频在线播放食品机械(江苏)有限公司
电话:0523-84888995
手机:18961099766
联系人:刘先生
地址:江苏省靖江市新桥工业园区
瑞江路16号(飞煌智能装备产业园26-2)
备案号:苏ICP备76246088号
留言板
版权所有:91香蕉视频在线播放食品机械(江苏)有限公司   技术支持:新超云网络
网站地图